7DI(隔離)和3DO(繼電器),帶有ModbusTCP模塊
|
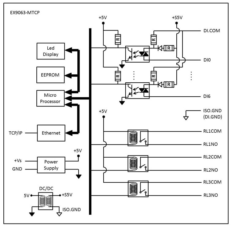
特殊功能: ■ 支持Modbus / TCP,TCP / IP,UDP,ICMP,ARP ■ 以太網10/100 Based-T通信 ■ 支持3個繼電器輸出通道(A型) ■ 提供脈衝/延遲輸出模式 ■ 支持7路隔離數字輸入通道 ■ 提供計數器/頻率輸入模式 ■ 支持幹/濕接點輸入 ■ 完全光隔離3750Vrms ■ 狀態LED指示燈 ■ EX9000-MTCP系列實用程序/軟件/命令/ Web服務器支持: EX9000-MTCP實用程序 TCPDAQ(以太網I / O)ActiveX控制 TCPDAQ(以太網I / O)DLL API TCPDAQ(以太網I / O)數據結構 產品規格: |
|
接口: |
|
|
通訊 |
10/100 Based-T以太網 |
|
協議 |
Modbus / TCP,TCP / IP,UDP,ICMP和ARP |
|
LED指示 |
引導電源和以太網鏈接狀態 |
|
隔離電壓 |
3750Vrms |
|
數字輸入: |
|
|
輸入通道 |
7 |
|
輸入類型 |
單端共同電源/接地 |
|
計數器輸入 |
500Hz計數器輸入(32位+ 1位溢出) |
|
數字輸出: |
|
|
輸出通道 |
3繼電器輸出 |
|
繼電器類型 |
表格A |
|
繼電器觸點容量 |
5 A / 250 VAC, 5 A / 30V直流 |
|
浪湧強度 |
40 00V |
|
操作時間 |
最大 6 mS |
|
推出日期 |
最大 3 mS |
|
閔生活 |
104 ops |
|
脈衝輸出 |
每個通道支持500Hz脈衝輸出 |
|
電力需求: |
|
|
消費 |
2.4W |
|
電源輸入 |
10〜30VDC(未調節) |
|
濕度 |
5〜95%RH,不結露 |

